

YT型油浸式電滾筒是本公司為大中型皮帶機配套的產品,電機采用油浸直接冷卻,配用行星齒輪減速器,扭矩大、精度高、噪音低、滾筒全密封、無滲漏,可用于粉塵大、潮濕等環境惡劣的場合,是皮帶輸送機、斗輪堆取料機、裝卸船機理想的驅動裝置。
YT型油浸式電滾筒參數表
Parameter List
|
mm |
功率P KW |
帶寬B mm |
滾筒表面線速度V(m/s) |
質量M |
||||||
|
1.0 |
1.25 |
1.6 |
2.0 |
2.5 |
3.15 |
4.0 |
kg |
|||
|
Φ630 |
18.5 |
800 |
V |
V |
V |
V |
V |
V |
V |
1200/1250/1350/1450 |
|
22 |
1000 |
V |
V |
V |
V |
V |
V |
V |
1250/1300/1400/1500 |
|
|
30 |
1200 |
V |
V |
V |
V |
V |
V |
V |
1300/1350/1450/1550 |
|
|
37 |
1400 |
V |
V |
V |
V |
V |
V |
V |
1350/1400/1500/1600 |
|
|
Φ 800 |
18.5 |
800 |
|
V |
V |
V |
V |
V |
V |
1270/1320/1420/1520 |
|
22 |
1000 |
|
V |
V |
V |
V |
V |
V |
1320/1370/1470/1570 |
|
|
30 |
1200 |
|
V |
V |
V |
V |
V |
V |
1370/1420/1520/1620 |
|
|
37 |
1400 |
|
V |
V |
V |
V |
V |
V |
1420/1470/1570/1670 |
|
|
45 |
1000 |
|
V |
V |
V |
V |
V |
V |
2080/2130 |
|
|
1200 |
|
V |
V |
V |
V |
V |
V |
2200/2250 |
||
|
55 |
1400 |
|
V |
V |
V |
V |
V |
V |
2320/2370 |
|
|
45 55 |
1000 |
|
|
V |
V |
V |
V |
V |
2150/2200 |
|
|
Φ1000 |
1200 |
|
|
V |
V |
V |
V |
V |
2300/2350 |
|
|
1400 |
|
|
V |
V |
V |
V |
V |
2500/2550 |
||

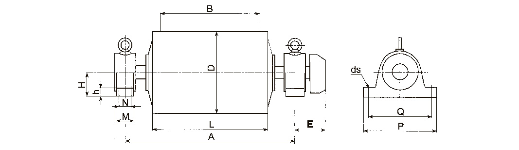
YT型油浸式電滾筒安裝外形尺寸
Mounting External Size
|
D |
B |
A |
L |
H |
M |
N |
P |
Q |
h |
ds |
E |
|
Φ630 |
800 |
1300 |
950 |
140 |
130 |
80 |
400 |
330 |
50 |
027 |
260(≥37kw) |
|
1000 |
1500 |
1150 |
|||||||||
|
1200 |
1750 |
1400 |
160 |
150 |
90 |
440 |
360 |
50 |
0 34 |
||
|
1400 |
2000 |
1600 |
YT型油浸式電滾筒訂貨代號
Ordel Symbol
